NEWS & INSIGHTS > Featured > Four Stories of Black Americans’ Contributions to Mechanical Construction
Feb 16, 2021
Black History Month is an annual time of reflection on Black Americans’ roles in shaping U.S. history. It’s a time for all of us to celebrate Black Americans who were central in developments across our society: giants of industry, courageous civil rights leaders, champions of progress.
For us it’s also a time to remember the stories of Black Americans who have made significant contributions to our industry, mechanical construction. As we celebrate Black History Month, we want to highlight the stories of these four changemakers in mechanical contracting.

Lewis Howard Latimer was an inventor best known for improving the production method of carbon filaments in lightbulbs. But he also made two contributions to plumbing and heating/cooling.
Latimer’s first co-patent, in 1874, was awarded for an improvement on “Water-Closets for Railroad-Cars.” Before his invention, railroad toilets had nothing to shield their openings—below the toilet seat was open track. Latimer conceived of a system that provided protection against updrafts and debris. A very useful invention, indeed.
In 1886 Latimer patented a precursor to modern air conditioning. His “Apparatus for Cooling and Disinfecting” was a window unit, designed for apartments. Watch this Institute of Engineering and Technology video spotlight of Latimer’s life and many inventions.

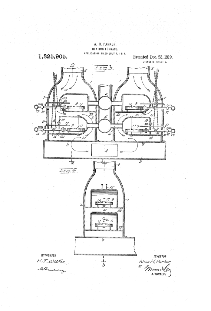
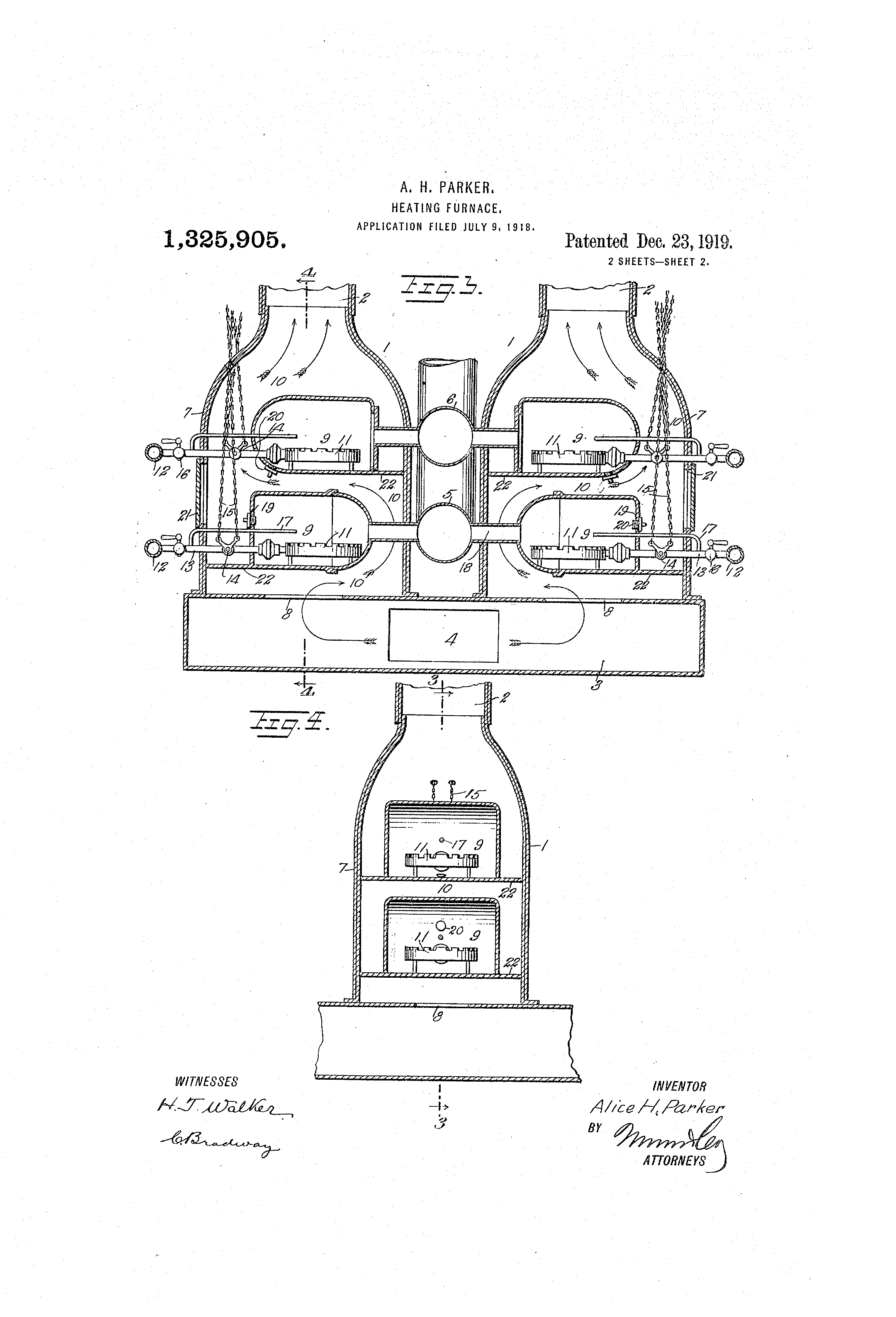
Not much is known about Howard University-educated Alice H. Parker’s life in Morristown, New Jersey, but in 1919 she filed a patent on a gas-powered furnace system, complete with a duct structure to carry heat to multiple rooms. At the time of her invention most Americans were still firing up wood and coal to fuel their furnaces.
Parker’s idea sparked a new direction in residential and business indoor heating. Her design was never used, but her idea of a single-source system, heated by gas and delivered to multiple spaces, paved the way for modern gas-furnace heating.

Frederick Jones was an inventor, imagining and building devices ranging from portable x-ray units to transmitters to movie ticket dispensers. He held over 60 patents for various inventions.
But perhaps his most famous was the portable air-cooling unit, which he invented for trucks carrying groceries and products that required refrigeration. Jones’s refrigeration unit was durable, able to withstand the bumps and jostles of highway travel. The small compressor was mounted under a trailer, and Jones adapted that design for use on trains, planes and boats. His invention modernized mobile refrigeration, and his company, Thermo King Corporation, was greatly successful as a result.
Beyond groceries, his invention was tapped by the U.S. Armed Forces during WWII to transport blood, medicine and food to troops. In 1991 Jones posthumously received the National Medal of Technology; he was the first Black American to receive that honor. He was later inducted into the National Inventors Hall of Fame.

While we all take time each February to consider the contributions Black Americans have made to our country’s history, Black history is still being made. In our industry, for example, consider Adrienne Bennett, the CEO of Benkari Mechanical LLC.
Bennett received her master plumber license in 1987—becoming the first Black woman in the United States to do so according to a CNN profile—after apprenticing with the Plumber’s Union, Local 98. As CNN notes, “Michigan’s labor department recognized this distinction with a letter, noting her ‘unblemished record,’ with the state plumbing board.” Bennett recalls in the CNN article that she was often the only woman on a jobsite, sometimes among 100 or more men.
Bennett went on to work for the City of Detroit as a plumbing inspector and code enforcer, and she has held many professional positions since: Chief Project Manager, Chief Space Analyst, Plumbing Estimator, and Drain Layer Contractor. Today Bennett’s company continues to help build Detroit, with projects ranging from government, education and commercial buildings, including Little Caesar’s arena. Click here to watch a PBS feature on Bennett.